Modbus是一種串行通信協議,是Modicon公司(現在的施耐德電氣Schneider Electric)于1979年為使用可編程邏輯控制器(PLC)通信而發表。Modbus已經成為工業領域通信協議的業界標準(De facto),并且現在是工業電子設備之間常用的連接方式。
廣泛的系統集成:
PDM系列儀表/變送器提供了標準的RS-485/422通訊接口及ModBus通訊協議,這個通訊協議已廣泛被國內外電力行業及工控行業作為系統集成的標準。
通訊數據的類型及格式
信息傳輸為異步方式,并以字節為單位。在主站和從站之間傳遞的通訊信息是11位的字格式

? 通訊數據(信息幀)格式

通訊信息傳輸過程
當通訊命令由發送設備(主機)發送至接收設備(從機)時,符合相應地址碼的從機接收通訊命令,并根據功能碼及相關要求讀取信息,如果CRC校驗無誤,則執行相應的任務,然后把執行結果(數據)返送給主機。返回的信息中包括地址碼、功能碼、執行后的數據以及CRC校驗碼。如果CRC校驗出錯就不返回任何信息。
1.1 地址碼:
地址碼是每次通訊信息幀的第一字節(8位),從0到255。這個字節表明由用戶設置地址的從機將接收由主機發送來的信息。每個從機都必須有唯一的地址碼,并且只有符合地址碼的從機才能響應回送信息。當從機回送信息時,回送數據均以各自的地址碼開始。主機發送的地址碼表明將發送到的從機地址,而從機返回的地址碼表明回送的從機地址。相應的地址碼表明該信息來自于何處。
1.2 功能碼:
是每次通訊信息幀傳送的第二個字節。ModBus通訊規約可定義的功能碼為1到127。PDM系列儀表/變送器僅用到其中的一部分功能碼。作為主機請求發送,通過功能碼告訴從機應執行什么動作。作為從機響應,從機返回的功能碼與從主機發送來的功能碼一樣,并表明從機已響應主機并且已進行相關的操作。
MODBUS部分功能碼
1.3 數據區:

數據區包括需要由從機返送何種信息或執行什么動作。這些信息可以是數據(如:開關量輸入/輸出、模擬量輸入/輸出、寄存器等等)、參考地址等。例如,主機通過功能碼03告訴從機返回寄存器的值(包含要讀取寄存器的起始地址及讀取寄存器的長度),則返回的數據包括寄存器的數據長度及數據內容。對于不同的從機,地址和數據信息都不相同(應給出通訊信息表)。
PDM系列儀表/變送器采用Modbus通訊規約,主機(PLC、RTU、PC機、DCS等)利用通訊命令(功能碼03),可以任意讀取其數據寄存器(其數據信息表詳見附錄)。PDM系列儀表/變送器的數據寄存器存儲的電量多達幾百個(如:電流、電壓、功率、0~31次諧波分量等),并且都是16位(2字節)的二進制數據,并且高位在前;一次最多可讀取寄存器數(既各種電量的數量)是50個。
PDM響應的命令格式是從機地址、功能碼、數據區及CRC碼。數據區的數據都是兩個字節,并且高位在前(電能量除外)。
MODBUS功能碼簡介
功能碼“02”:讀1路或多路開關量狀態輸入例如:主機要讀取地址為01,開關量DI1—DI4的輸入狀態。
從機(PDM)數據寄存器的地址和數據為

主機發送的報文格式:

從機(PDM)響應返回的報文格式:

功能碼“01”:讀1路或多路開關量輸出狀態
例如:主機要讀取地址為01,開關量DO1,DO2的輸出狀態。
從機(PDM)數據寄存器的地址和數據為

主機發送的報文格式:

從機(PDM)響應返回的報文格式:

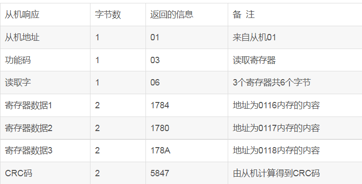
2.3 功能碼“03”:讀多路寄存器輸入
例如:主機要讀取地址為01,起始地址為0116的3個從機寄存器數據。
從機(PDM)數據寄存器的地址和數據為:

主機發送的報文格式:
從機(PDM)響應返回的報文格式:

錯誤校驗碼(CRC校驗)
主機或從機可用校驗碼進行判別接收信息是否正確。由于電子噪聲或一些其它干擾,信息在傳輸過程中有時會發生錯誤,錯誤校驗碼(CRC)可以檢驗主機或從機在通訊數據傳送過程中的信息是否有誤,錯誤的數據可以放棄(無論是發送還是接收),這樣增加了系統的安全和效率。
MODBUS通訊協議的CRC(冗余循環碼)包含2個字節,即16位二進制數。CRC碼由發送設備(主機)計算,放置于發送信息幀的尾部。接收信息的設備(從機)再重新計算接收到信息的CRC,比較計算得到的CRC是否與接收到的相符,如果兩者不相符,則表明出錯。










































